Shroud - Motor - Lower

FRT No: 40011702

    Remove


  1. Remove upper shroud from motor (refer to procedure).

  2. Remove cable tie securing ground strap to motor cable.

  3. Remove Nyloc nut and washer securing ground strap to stud on lower shroud (torque - 5 Nm).

  4. Remove bolt, Nyloc nut and washers (x2) securing ground clamp to motor cable (torque - 5 Nm).

  5. Remove ground strap and clamp from cable.

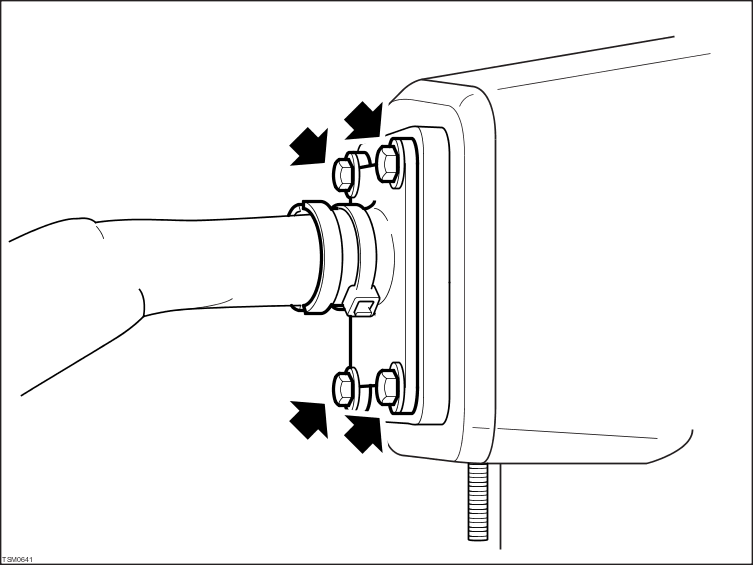
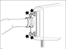
  6. Remove bolts (x4) securing motor cable dust boot to lower shroud (torque - hand tight).
  7. NOTE: When installing, apply Loctite® 222™ thread locking compound to bolt/screw threads.


  8. Remove cable tie securing dust boot to motor cable.

  9. Slide dust boot back along cable and remove dust boot.

  10. Remove lower shroud by maneuvering it along the motor cable.

    Installation


  1. Installation procedure is reverse of removal.