Fender Assembly - Front - LH

FRT No: 10010702

    Remove


  1. Remove LH front upper wheel arch liner (refer to procedure).

  2. Remove condenser rear exit duct (refer to procedure).

  3. Remove bolts (x3) securing upper fender bracket to fender and body. Remove fender bracket.

  4. Remove bolts (x2) securing fender to bumper.

  5. Mark fitted position of hood latch to fender.

  6. Remove bolts (x2) securing LH hood latch to bracket.

  7. Disconnect hood release cable from latch.

  8. Remove bolts (x2) securing fender to sill bracket.

  9. Remove bolt securing fender to bumper armature.

  10. Remove screw securing fender to windshield frame.

  11. Remove bolt securing fender and bracket to chassis.

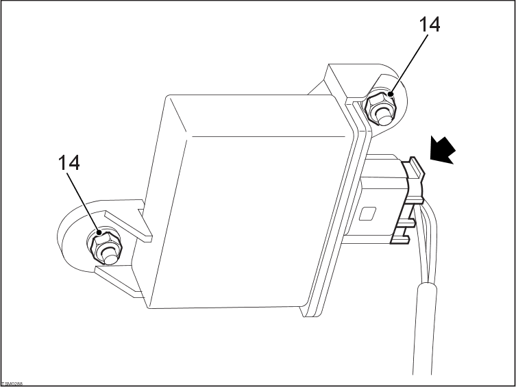
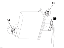
  12. Disconnect connector from TPMS trigger.

  13. Remove fender.

  14. Remove nuts (x2) securing TPMS trigger to fender and remove trigger (torque - 5 Nm).

  15. Remove nuts (x3) securing hood latch bracket to fender and remove bracket.

  16. Remove nut securing bumpstop to fender. Collect spring and remove bump stop.

  17. Remove bump stop nylon spacers from fender.

    Installation


  1. Installation procedure is reverse of removal except for the following.

  2. Align hood latch to marks

  3. Check alignment of hood to body and adjust as necessary.